发布日期:2024-03-30信息来源: 通辽网站建设|通辽网页设计|通辽网络公司-通辽易联通达点击: 次我要评论()
十年磨一剑,经过本团队5年多的开发和内部测试。2024版本四方支付系统重磅上线。
目前升级版本修改的bug:
※修改首页商家登录地址不对的问题。
※修改管理页面,设置会员通道按钮无法打开的问题。
※取消跳转到收银台的步骤,直接跳转到三方支付页面。
※增加对商户的状态检查。非正常商户无法交易。
※后台和前台页面做了优化
※后台安全性进行了强化
※增加了谷歌验证码功能,安全可靠。
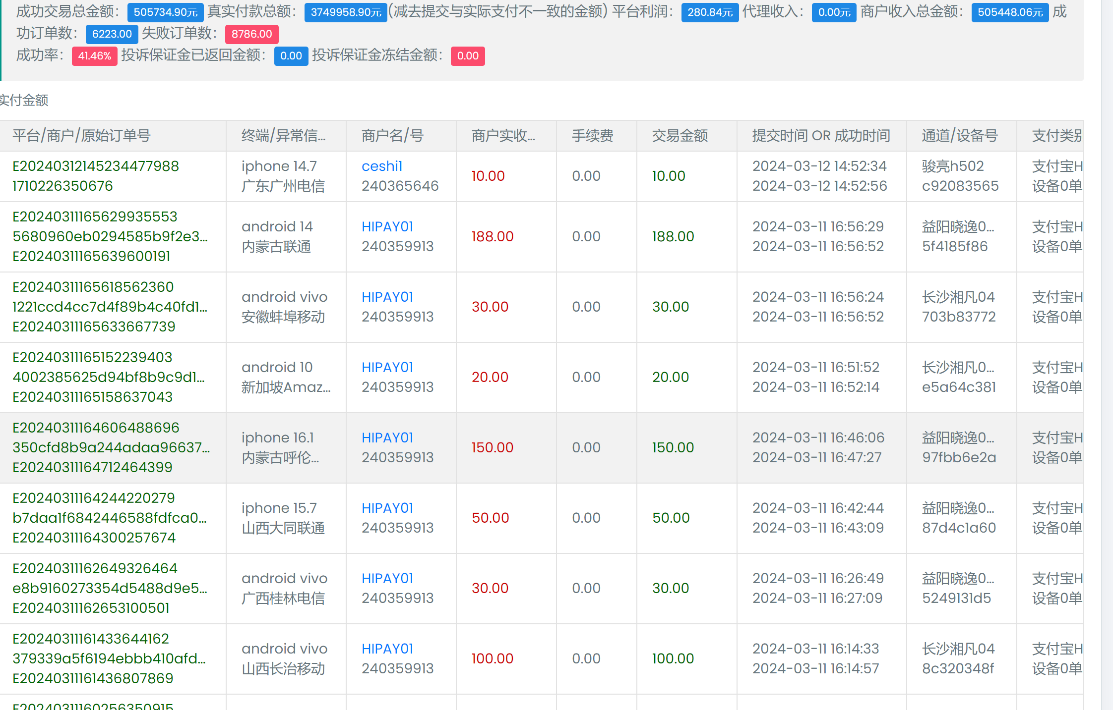
话不多说,直接上图。

关键词
支付系统搭建,源码开发定制,聚合支付平台,自主开发,支付平台源码,开源可定制开发。
第四方支付平台接口
第四方支付程序
php第三方支付系统源码
第四方聚合支付平台源码
第四方聚合支付平台
第三方支付系统源码
原文来自:
http://www.0475seo.com/tech/2dev/427.html
唯一客服QQ:804752009。加好友请注明:四方支付系统。
坚决打击任何不劳而获套取源码的行为。
演示地址:
前台可以自由注册,后台管理账号请管客服索要。
唯一客服QQ:804752009。